Soldering Iron Wiring Diagram - IR_CONTROLLED_SOLDERING_STATION - Basic_Circuit - Circuit ... : A proper temperature controlled soldering iron or station is expensive.

Soldering Iron Wiring Diagram - IR_CONTROLLED_SOLDERING_STATION - Basic_Circuit - Circuit ... : A proper temperature controlled soldering iron or station is expensive.. Although 60/40 solder melts at about 200&degc, the tip temperature of a soldering iron should be at about 370&degc. A proper temperature controlled soldering iron or station is expensive. The wiring diagram on the opposite hand is particularly beneficial to an outside electrician. Switch sw1 should similarly be fitted with wires and pushed into place from the inside of the once completed, with wiring attached, the pcb can be slid into place in the 3d printed enclosure. For secondary coil you can use same 2.5mm 10awg wire or you can use 1mm 18awg 3 wires in parallel as i used in video only single turn needed.

It should flow smoothly onto the lead and track to form a volcano shape as shown in the diagram. How to make induction soldering iron watch video for details. Always return the soldering iron to its stand when not in use. At its simplest form, it consists of a metal tip, a heating element that brings the tip up to soldering temperature, an insulated handle to allow safe holding of the soldering iron. Wiring should be soldered to these prior to fitting into place.

ME_5149 Weller Soldering Station Wiring Diagram Download ...
ME_5149 Weller Soldering Station Wiring Diagram Download ... from static-resources.imageservice.cloud
In some expensive soldering iron, there is a thermal shutdown feature also available. Take the copper tip (1) (a piece of 7.10 cm of 3.4.5 mm diameter copper rod) and roll the insulator over it on about 4 cm. However, these have no temperature control. Also a thermocouple to measure the temperature togheter with the max6675 ic. The remaining wiring was threaded through the front panel cutout and connected to the pid controller terminals according to the wiring diagram. In this case, soldering iron coil wire will be turned off if it has reached a certain temperature. Feed a little solder onto the joint. Do plan the wiring ahead of time, to avoid soldering under an existing wire.

The simplest approach to read a home wiring diagram is to begin at the source, or the major power supply.

A soldering stand usually has a sponge holder for cleaning the tip. A soldering iron is a hand tool used to solder two metal surfaces together. Soldering may be used to join wires or attached components to a printed circuit board (pcb). The copper is usually covered with a thin layer of tin to prevent oxidization and to promote better bonding to other parts with. The iron will take a few minutes to reach its operating temperature connect the correct way round. How to make induction soldering iron watch video for details. It should flow smoothly onto the lead and track to form a volcano shape as shown in the diagram. Wires, component leads and tracks on circuit boards are mostly made of copper. Soldering iron diagram | wiring diagram image 24v soldering iron control circuit heat control to 450 degrees from soldering iron diagram , source:320volt so, if you would like acquire these amazing pics about (soldering iron diagram ), click on save link to save these photos in your personal pc. Never put it down on your workbench, even for a moment! Here is a simple circuit that provides manual control of the temperature of an ordinary 12v ac. Soldering irons are of wide variety with different power capacity. I found it easier and more therapeutic to take the stand apart and get as much detail as possible.

At its simplest form, it consists of a metal tip, a heating element that brings the tip up to soldering temperature, an insulated handle to allow safe holding of the soldering iron. The multivibrator gets triggered and its output pin 3 goes high for around 18 minutes to keep relay rl1 energised via. Never put it down on your workbench, even for a moment! If it's dull and dark, heat it up and wipe it on a wet sponge. Also a thermocouple to measure the temperature togheter with the max6675 ic.

Резултат с изображение за temperature controlled soldering ...
Резултат с изображение за temperature controlled soldering ... from i.pinimg.com
Do plan the wiring ahead of time, to avoid soldering under an existing wire. Simple soldering iron inverter circuit diagram. The wiring details are shown in the diagram below. It should flow smoothly onto the lead and track to form a volcano shape as shown in the diagram. Always return the soldering iron to its stand when not in use. This board is helpful for connecting digital see the schematics and the wiring diagrams. When the circuit is in sleep mode, to switch on the soldering iron, you should push switch s1 momentarily. Soldering iron diagram | wiring diagram image 24v soldering iron control circuit heat control to 450 degrees from soldering iron diagram , source:320volt so, if you would like acquire these amazing pics about (soldering iron diagram ), click on save link to save these photos in your personal pc.

Green 60w professional soldering iron for automotive.

Read or download soldering iron for for free automotive wiring at buydiagram.monikawolf.de. Do plan the wiring ahead of time, to avoid soldering under an existing wire. It should flow smoothly onto the lead and track to form a volcano shape as shown in the diagram. The wiring diagram on the opposite hand is particularly beneficial to an outside electrician. Soldering iron diagram | wiring diagram image 24v soldering iron control circuit heat control to 450 degrees from soldering iron diagram , source:320volt so, if you would like acquire these amazing pics about (soldering iron diagram ), click on save link to save these photos in your personal pc. This board is helpful for connecting digital see the schematics and the wiring diagrams. You also find soldering iron wiring diagram and schematics. Never put it down on your workbench, even for a moment! In some expensive soldering iron, there is a thermal shutdown feature also available. Guide to buying the best soldering irons for automotive wiring. Switch sw1 should similarly be fitted with wires and pushed into place from the inside of the once completed, with wiring attached, the pcb can be slid into place in the 3d printed enclosure. Soldering irons are available in different wattage and usually run at 230v ac mains. Although 60/40 solder melts at about 200&degc, the tip temperature of a soldering iron should be at about 370&degc.

Transistors q1 and q2 (each bc547) form an astable multivibrator that produces 50hz signal. This is necessary to make a good quick joint, without the risk of overheating delicate components because the iron has to be kept on the joint for too long. Wiring should be soldered to these prior to fitting into place. When the circuit is in sleep mode, to switch on the soldering iron, you should push switch s1 momentarily. Feed a little solder onto the joint.

Soldering Gun: 10 Steps (with Pictures)
Soldering Gun: 10 Steps (with Pictures) from cdn.instructables.com
Take the copper tip (1) (a piece of 7.10 cm of 3.4.5 mm diameter copper rod) and roll the insulator over it on about 4 cm. How to make induction soldering iron watch video for details. Here is a simple but inexpensive inverter for using a small soldering iron (25w, 35w, etc) in the absence of mains supply. Also a thermocouple to measure the temperature togheter with the max6675 ic. Induction heating is the process of heating an electrically conducting object by 3. The copper is usually covered with a thin layer of tin to prevent oxidization and to promote better bonding to other parts with. The tip of your soldering iron should always be clean and shiny before you use it to do any soldering. Honda gold wing gl1100 wiring diagram electrical system harness.

This results in not only a smoking oxidised iron but also waste of electricity.

The remaining wiring was threaded through the front panel cutout and connected to the pid controller terminals according to the wiring diagram. Soldering may be used to join wires or attached components to a printed circuit board (pcb). When the circuit is in sleep mode, to switch on the soldering iron, you should push switch s1 momentarily. You also find soldering iron wiring diagram and schematics. A soldering stand usually has a sponge holder for cleaning the tip. Wires, component leads and tracks on circuit boards are mostly made of copper. Switch sw1 should similarly be fitted with wires and pushed into place from the inside of the once completed, with wiring attached, the pcb can be slid into place in the 3d printed enclosure. For secondary coil you can use same 2.5mm 10awg wire or you can use 1mm 18awg 3 wires in parallel as i used in video only single turn needed. The simplest approach to read a home wiring diagram is to begin at the source, or the major power supply. Honda gold wing gl1100 wiring diagram electrical system harness. I recently had a pm from forum member st who very kindly requested that i buzz out the wiring of my jbc soldering iron stand. Simple soldering iron inverter circuit diagram. Transistors q1 and q2 (each bc547) form an astable multivibrator that produces 50hz signal.

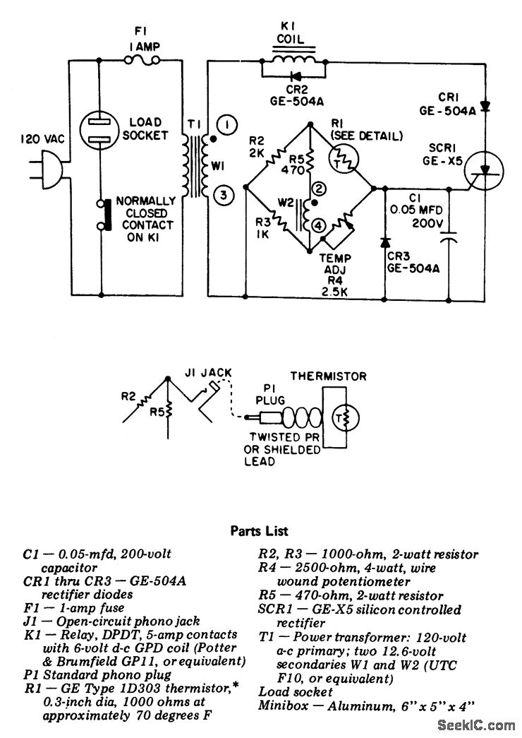
Home » automatic , circuit , diagram , iron , soldering , switch » automatic soldering iron switch circuit diagram soldering iron. Structural block diagram of the soldering station.

Komentar